Guides d'installation généraux
Lampe suspendue
- Fixez le panneau suspendu au plafond
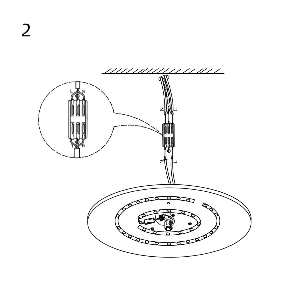
- Raccordez les fils de la lampe aux fils prévus à cet effet.
- Fixez le bac de plafond et la planche de suspension par le côté.
- Fixez l'abat-jour au support de lampe à serre-câble.
- Installation de l'ampoule
Plusieurs suspensions lumineuses dans un seul auvent
- Fixez le panneau suspendu au plafond
- Raccordez les fils de la lampe aux fils prévus à cet effet.
- Serrez l'écrou pour fixer le corps de la lampe.
- Fixez l'abat-jour au support de lampe à serre-câble.
- Installation de l'ampoule
Type un : Plafonnier
-
1. Verrouillez le câble principal dans le bornier lumineux intégré.
-
2. Raccordez les fils d'éclairage aux fils prévus à cet effet.
-
3. Fixez le corps de la lampe au plafond à l'aide de vis.
-
4. Abat-jour fixe
Type deux : Plafonnier
-
1. Fixez le panneau de suspension au plafond à l'aide de vis.
-
2. Raccordez les fils d'éclairage aux fils prévus à cet effet.
-
3. Utilisez les vis latérales pour fixer le corps de la lampe à la planche de suspension.
-
4. Installation de la source lumineuse
Type trois : Plafonnier
-
1. Raccordez les fils d'éclairage aux fils prévus à cet effet.
-
2. Fixez le corps de la lampe au plafond à l'aide de vis.
-
3. Pliez la plaque acrylique en un petit arc et insérez-la dans le corps de la lampe.
Applique murale
-
1. Fixez le panneau de support au mur.
-
2. Fixez le bras de la lampe à la plaque de la lampe à l'aide de vis.
-
3. Raccordez les fils d'éclairage aux fils réservés.
-
4. Utilisez les vis latérales pour fixer le corps de la lampe au support.
-
5. Fixez l'abat-jour au bras de la lampe.
-
6. Installez l'ampoule